自從知道穿高跟鞋很容易產生小蘿蔔腿後,
我逛街出門幾乎都是穿平底鞋居多,
不像大學生時期可以撐著穿高跟鞋一整天逛街,然後回去腳痛得要死@@
現在已經不會跟自己身體過不去了,
都覺得舒適感才是最重要的!
這篇來分享追求全球極致舒適的機能休閒-HANNFORT。
HANNFORT品牌的核心訴求就是Style With Comfort !!
HANNFORT名稱是源於希臘奧林帕斯12主神鍛造與冶煉之神Hephaestus赫菲斯托斯,
因為他是諸神的工匠,運用高超技巧製造了許多著名的神兵、神器,
所以HANNFORT也象徵可以運用精湛科技、力求感動舒適的精神在製鞋工藝上~
真的是使用精湛科技喔!
因為我後來查到我這篇分享的鞋款是有國際專利的唷@@
(迷之聲:猴腮雷阿)
之後再詳細分享~
目前HANNFORT在台灣百貨公司有幾處有設櫃點,
不過並不是每間分店都有設喔,
文章底部有詳細櫃點分享!

要是不能實際到櫃上的朋友,其實HANNFORT在yahoo、momo也有官方購物平台,
尺寸什麼的都寫得很詳細,
而且他們是針對亞洲人的尺寸,所以基本上平常穿什麼尺寸就差不多是那個尺寸~
HANNFORT鞋盒上面就印著品牌精神-Style With Comfort

不過鞋盒顏色就是中規中矩的配色設計,
走的就是比較有低調一點的設計,
只在品牌上多了一點凸起立體感!
這篇分享的鞋款是比較屬於OL族的上班鞋款-BREEZE 真皮氣墊楔型鞋,
官方有推出六款顏色-耀眼紫/玫瑰金/典雅棕/奢華黑/知性灰/華麗黑/優雅米,
選了一雙很有OL主管氣勢的深咖啡色!
尺寸的話我平常是穿24.5的,我挑它就是選24.5,穿起來也是剛剛好的!
因為它的材質除了底部是PU外,
其餘都是真皮,價格是有比我平常的高跟鞋稍微高了一點!
不過看到後面就會知道它的價格貴得有道理唷!
打開鞋盒可以看到品牌介紹及退換貨說明書,
而且包裝得很仔細

每一隻鞋都有一個鞋套喔

鞋子內每一隻鞋也都有鞋撐撐住~
要是長時間不會穿到的話也可以收好預防變形!
這顏色跟型式是設計比較像是蟒蛇皮紋的感覺,
乍看下是屬於比較很有氣勢的女主管會挑的款式~
鞋底也有HANNFORT的品牌名稱
要是不喜歡這麼成熟鞋款的女生比較建議可以挑選玫瑰金/優雅米。
就會顯得沒這麼沉重許多~

【HANNFORT】BREEZE典雅時尚
真皮美型氣墊楔型鞋-女-Q(優雅米)
【HANNFORT】BREEZE 自在呼吸
真皮美型氣墊楔型鞋-女(玫瑰金)
楔型鞋的目的就是在可以增加腿部視覺上的增長效果,
但長時間走路又不會像細跟高跟鞋那樣的不舒適~
只是楔型鞋相較下就沒有細跟高跟鞋這麼性感就是了!
不過這款BREEZE/極站力系列目的就是給需要在外奔波的業務或是久站立久坐的OL族,
除了具有腿部的視覺拉長效果外,
也有很舒適的感受,
因此魔鬼就藏在細節中!
細節一、PU氣墊鞋底
鞋底特地選用耐磨靜音的PU氣墊鞋底,所以不會產生很吵的扣扣聲,
而且波浪形的深凹型紋路,在雨天內部行也不易滑倒;
仔細看底部的平面摩擦面充斥著大小不一的不規則型,
這就表示增加鞋底的磨擦係數,讓步行的時候不易滑倒!
這點倒是設計得很周全,我還是第一次看到這麼細膩的考量!
(迷之聲:叩叩聲多性感阿XD 妳真不懂男人心........)
細節二、零壓透氣後跟襯墊(Magic Heel Pad)
讓女生最害怕的磨腳跟問題,穿上HANNFORT保證不用擔心!
因為它內裡除了是真皮材質外,還多了這一小塊的零壓透氣後跟襯墊,
就很像鞋後跟貼的意思啦!
只是HANNFORT BREEZE直接就加入在鞋內了~
大家就不用另外再買鞋後跟貼了!
跟大家說很多新鞋幾乎後腳跟都會磨腳,
就算是真皮的話有很多鞋也都會,因為這是鞋型的問題~
所以有很多人說新鞋剛穿的時候要在後腳跟那邊拿蠟燭磨一磨、
或是把它用力扭轉軟化一下,就可以減少新鞋磨腳的程度!
不過我剛收到它就測試走路出去,走樓梯等步行,
還真的後腳跟一點都不會磨唷!!
舒適到我以為我是穿休閒鞋勒,真的一點都不會懷疑!!
細節三、3D立體曲度鞋墊
除了扁平足外,大家的腳底都是不一樣的立體形狀吧!
因此特別針對腳的施力點、吸震點跟支撐點做3D的鞋墊設計,
而非傳統的片面式鞋墊;
且內裡跟鞋墊均使用進口真皮皮革,不只不會產生腳臭外,
而且增加止滑性,讓雙腳在鞋內也不容易滑動!
不過一開始我看到內裡的時候想說這是瑕疵品嗎?
怎麼會有三個孔洞= =

其實這孔洞是有秘密的?
連接到第四個細節去~
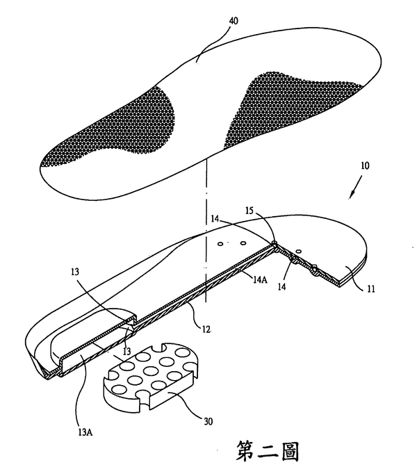
細節四、國際專利ABS主動式呼吸系統
這部分也是HANNFORT品牌重要的舒適核心跟專業技術了!
因為這也是鞋子穿起來有舒適度的最重要關鍵因素!
ABS是Active Breathing System主動式呼吸系統的簡稱,
不只我分享的這鞋款有ABS有,
TORNADO/CYCLONE氣動能系列等系列也都有,
只是每個系列又依照需求又添加了其他的工藝技術在裏頭,
例如加入透過運動科技材質HYPER FLEX結合生物力學、3D立體曲度鞋墊等,
目的就是讓消費者都可以有舒適的穿鞋感受!
從哪裡可以看出來鞋子有ABS主動式呼吸系統呢?
鞋墊上就可以看出它跟一般鞋墊不一樣了~
因為它摸起來彈Q彈Q的,而且後方竟然有排水孔??
哈哈!
其實這不是排水孔啦!
是排氣孔~~
透過鞋墊上的孔洞,運用步行的一上一下過程增加空氣循環導流,將新鮮空氣主動導入鞋內,
從腳底向鞋面散發提升透氣,真正做到透氣循環,乾爽舒適!!
真的是讓雙腳有呼吸的感覺~
鞋墊底部還寫著台灣跟中國的專利號碼,
我查了一下台灣的專利字號台灣是M505827(點我)!
看了之後非常厲害耶@@
原來鞋墊上面的孔洞真的不是瑕疵品,而是設計上就有的,只是為什麼我的不是五個洞?
而且洞的位置也不一樣?

而且這鞋墊中間內部是有導流層的耶@@
超屌的!

由數量不等的管體自氣囊出氣口連接至鞋墊前方相對於腳趾的位置,
透過行走時踩踏氣囊,使氣囊反覆改變容積的方式,達到使管體出口端產生反覆進出的氣流,
使增加鞋內空氣循環流通效果,藉以改善鞋內之悶熱感,增加鞋具穿著舒適性。

所以鞋墊內部是有空心的部分!
而且腳後跟底是彈性支撐體,可以快速回復擴撐狀態的彈性回復力。

重點是我發現這鞋墊專利的申請人/發明人都是台灣人喔!
另外還被我發現了原來他就是HANNFORT的執行長-王哲仁@@
他是鞋業二代同時也是之前PLAYA創辦人,
他也說PLAYA其實就是今日HANNFORT的雛形,
針對亞洲人腳型開發楦頭,更結合運動科技,
打造成為一個運動科技鞋底結合時尚真皮面的氣墊休閒鞋品牌。

這就是為什麼HANNFORT會運用專利氣墊在鞋子上了~
而整體穿起來,
除了前面所說的舒適不咬腳外,
就算要長時間穿著上班走路也不怕~

尤其是遇到正式要開會的場合,
穿著HANNFORT BREEZE真皮楔型鞋既可以修長身型,
而且站著簡報也不會腳酸~
開會開一整天下來還是覺得很輕鬆!

但因為我的腳趾頭比較長,
所以之前穿也是一兩千塊的皮細跟高鞋,但腳趾頭會磨到長水泡@@
常常為了預防腳趾頭起水泡我都會貼膠帶預防;
不過穿HANNFORT BREEZE真皮楔型鞋前方還是會卡到,畢竟我的腳指頭真的比較長= =
可是不會磨腳起水泡喔,可能是選用的內裡真皮材質真的比較好的關係吧!
重點是要是什麼場合要跟小孩一起出門的話,
還可以讓我抱著小孩走路很順暢,
畢竟小孩現在還是會討要抱抱,而他又堅持只要給我抱,很歡@@
(迷之聲:職業婦女真的很辛苦啊@@)

不過大家不要看到價錢就嚇到,
因為HANNFORT鞋款到目前為止也推出很多系列了,
針對各個年齡層、男生女生都有適合的鞋款,
千元有找的國民鞋也是有的啦!
誰說專櫃品牌都一定上千塊呢?

<延伸閱讀>
FORZIERI網購教學,七天內就把義大利精品帶回家~DHL服務好好~Le PARMENTIER一包四用開箱~
100%橡膠、好軟Q又舒適的LANDFER馬靴雨鞋Rain Boot,時尚又有個性~
"坐"著就在運動?專利設計、有醫療認證的BackJoy貝樂宜Posture美姿墊/Mini護脊墊,不僅hold住肉肉,還調整崩壞坐姿!
自己的皮夾自己做?蘋果日報推薦的【ADOLE】DIY手做真皮皮夾/長夾/零錢包/名片夾/鑰匙包/證件套
LV旅遊指南推薦的HEIRLOOM Handbags,不擁有一個一定會後悔!(全真皮、手工、限量、限色、限款)
100%橡膠、好軟Q又舒適的LANDFER馬靴雨鞋Rain Boot,時尚又有個性~
用腳走進時代尖端的People Footwear,首創3D列印的高科技鞋,超輕巧好清潔,專利鞋墊舒適又耐穿!(不含塑化劑)
純手工製的O'Ringo林果良品休閒鞋&拖鞋,舒適又柔軟,且不穿襪也不會腳臭!
(敗家)AIR SPACE 懷舊感皮革圓尖高跟鞋 OL上班款
(限量訂購)可帶去衝浪、玩水的日本Stream Trail防水防雪包,金屬模熱壓保證不滲水!
真的超kuso的JumpFromPaper™2D漫畫包,大人小孩都適合~
(敗家)miu miu May Package經典小牛皮皺摺手提兩用包
冬天衣櫥裡怎麼可以缺少unistyle獨具衣格MIT針織衫呢?
圖片很生火的Life8 生活吧!-男鞋穿起來確實蠻好看的,舒適度就看個人摟!
1100萬法國女性推薦的Lytess專利塑身系列,每天5秒戰勝橘皮的睡覺塑按摩緊緻褲
超輕又快乾的雷訊LACHELN防潑水羽絨外套,寒流、滑雪、防風、機車族都沒在怕!
*本文為與HANNFORT 合作分享*

HANNFORT
HANNFORT雅虎購物中心:https://tw.buy.yahoo.com/?sub=680
HANNFORT momo:https://goo.gl/agG3tp
粉絲團:https://www.facebook.com/hannforttw/
HANNFORT百貨門市:
台北新光三越-站前店1樓(快閃櫃)
台北遠東百貨-寶慶店2樓
板橋遠東百貨-中山店2樓
台中大遠百-6樓南棟
台中中友百貨-B1(快閃櫃)
嘉義新光三越-垂楊店1樓
高雄統一時代百貨-B1
高雄義大購物中心-B區B1
花蓮遠東百貨-1樓













